*Hệ thống hỗ trợ xuống dốc (HDC)
1) Outline
Bấm vào nút chọn chế độ HDC để kích hoạt HDC, nó tự động điều chỉnh lực phanh để duy trì tốc độ hiện tại mà xe đang di chuyển xuống dốc trong khoảng từ 2 ~ 20 km/h.
Điều này giúp cho ng ười lái tập trung vào việc điều khiển vô lăng và đi xuống dốc một cách an toàn h ơn mà không phải tự
điều khiển bàn đạp phanh
Bảng điều khiển
Công tắt HDC
CHÚ Ý: Hỗ trợ xuống dốc (HDC) không thể thay thế cho việc lái xe an toàn.
Đừng hoàn toàn lệ thuộc vào chức năng này khi lái xe trên đường gồ ghề. Khi lái xe trên đường trơn trượt như bùn, băng hay đường không trải nhựa, xe của bạn sẽ không thể tự giữ được tốc độ hiện tại, điều này có thể dẫn đến tai nạn nghiêm trọng.

Công tắt HDC nằm ở bảng điều khiển trên mặt phẳng phía dưới cần chọn số.
Khi người lái nhấn công tắt này, chức năng HDC có thể được bật/tắt. Khi HDC được bật, đèn chỉ thị HDC trên bảng đồng hồ táp lô sẽ sáng.
ASTC-ECU sẽ không nhận bất cứ tín hiệu nào từ công tắc HDC khi bạn nhấn và giữ nó trong vòng 15 giây để tránh các hoạt động ngoài ý muốn.
Để bật lại hệ thống HDC, bạn phải khởi động lại động cơ.
Khi bất kì điều kiện nào như trên được thỏa mãn, HDC sẽ được tắt và màn hình hiển thị đa thông tin sẽ báo.
2) Đèn chỉ thị HDC và màn hình hiển thị đa thông tin
Khi lái xe xuống dốc với HDC (đèn chỉ thị) ON, ASTC-ECU sẽ áp dụng lực phanh tự động vì thế người lái có thể duy trì vận tốc hiện tại của xe. Khi lực phanh tự động được kích hoạt, đèn phanh sẽ sáng và đèn chỉ thị HDC trên bảng đồng hồ táp lô sẽ chớp.

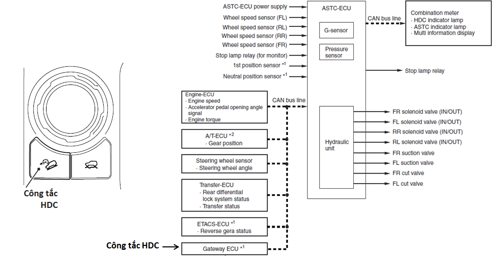
3) Mô hình hệ thống

4) Vận hành

5) Kích hoạt HDC
Tốc độ cài đặt của HDC được nhớ khi thỏa bất kì điều kiện nào sau đây:
· HDC được kích hoạt với bàn đạp ga và phanh được thả ra hoàn toàn.
· Người lái kích hoạt HDC bằng cách đạp bàn đạp ga và sau đó nhả ra.
· Người lái kích hoạt HDC bằn cách đạp bàn đạp phanh và sau đó thả ra.
· Người lái đạp bàn đạp ga trong khi HDC được kích hoạt và sau đó thả ra.
· Người lái đạp bàn đạp phanh trong khi HDC được kích hoạt và sau đó thả ra.
.png)